作为农业“硬核装备”,联合收割机是集收割、脱粒、清选全流程功能于一体的效率神器,从平原万亩小麦的高效抢收,到丘陵水田的水稻收割,从玉米大豆的一机兼收,到复杂地形中各类杂粮作物的灵活高效作业能力,联合收割机既是田间地头的丰产利器,也是现代农业机械化进程中的关键力量。
2023年全球联合收割机市场规模达999.76亿元,中国联合收割机市场规模达到335.62亿元,预计到2029年,全球联合收割机市场规模将达到1239.29亿元,在预测期间内,市场年均复合增长率预估为2.38%。
根据海关数据显示,2025年1-9月,中国联合收割机(HS:84335100)出口额约为4.28亿美元,较上年同期增加1.37亿美元,同比增长46.83%。

从出口平均价格来看,2025年1-9月中国联合收割机出口平均价格为1.69万USD/台,同比下降9.55%。2025年中国联合收割机出口产品结构失衡,中低端产品占据出口主力,拉低了出口均价;部分进口国调整关税政策或实施贸易限制,企业为维持市场份额主动降低价格。
按出口国家和地区统计,2025年1-9月我国联合收割机最大出口国家和地区为印度,出口金额为1.77亿美元,其次是印度尼西亚和斯里兰卡,出口金额分别为8267万美元、2868万美元。

其中,2025年1-9月对哈萨克斯坦出口同比增长206.37%,这其中原因有哈萨克斯坦农机进口关税降至5%,并提供“光明之路”低息贷款(利率3%),并在2025年计划将农业机械更新率提升至6.5%,政策的强力刺激之下,为联合收割机出口提供市场机遇;在“一带一路”倡议下,中国农机产品逐渐进入中亚市场凭借着性价比优势与完善的售后服务体系,进一步提升了产品的市场竞争力,使得中国联合收割机在中亚市场的占有率不断提升。
具体分国别来看,2025年1-9月,我国联合收割机共出口113个国家和地区,与2024年同期相比增加15个国家和地区。近七成市场出口额同比正增长,前20大出口市场中,出口额同比增幅100%以上的市场6个,出口额同比增幅50%以上的市场11个。
从贸易地区分析来看,亚洲是我国联合收割机的主要出口地,占出口总量的83.82%。在2025年1-9月对出口的主要地区中,出口亚洲3.59亿美元,同比增长72.20%;出口拉美2735万美元,同比增长14.11%;出口非洲2533万美元,同比增长47.34%;出口大洋洲14.48万美元,同比增长1189.99%;出口北美6.27万美元,同比增长298.51%;出口额下降的洲有:出口欧洲1638万美元,同比下降61.06%。

从主要出口省市来看,2025年1-9月出口额前五的省市依次为江苏、山东、上海、安徽、湖北,出口额合计占比达到90.62%,紧随其后的福建、浙江、黑龙江、广东、北京,出口额分别为651万美元、611万美元、561万美元、513万美元、294万美元。

产业链情况
上游:零部件供应
联合收割机行业产业链上游为零部件供应,主要包括发动机、传动部件、收割部件、液压系统部件等。
代表企业有:珀金斯(Perkins)、康明斯、玉柴动力、潍柴动力、恒立液压、中川液压、博世力士乐等。
中游:整机制造
产业链中游为联合收割机生产制造环节。
代表企业有:约翰迪尔、克拉斯、凯斯纽荷兰工业、中联收获、东方红、潍柴雷沃、鲁农机械等。
下游:应用需求
产业链下游为联合收割机的应用领域,包括小麦、玉米、水稻、大豆等农作物的收割。
全球主要消费市场情况
亚太市场:全球最大市场
亚太市场是联合收割机全球最大市场,占比达到58%,其中,中国、印度是核心市场,在政策驱动、粮食需求增加、劳动力成本上升等多重因素影响下,对联合收割机需求进一步增加。
北美地区:全球第二大市场
北美地区是联合收割机全球第二大市场,占约17%份额,美国中西部地区贡献大部分需求,以大农场为主,追求高效率、大功率和高科技集成。
欧洲市场:多元成熟市场
欧洲是联合收割机全球第三大市场,以法国、德国占比最大,欧洲市场农场规模差异大,对机械的精准化、智能化和环保性要求高。
南美市场:高潜力新兴市场
以巴西为代表的南美市场是联合收割机的新兴市场,大型农场为主,作业强度大,对机器的耐久性和环境适应性要求极高。
根据2025年1-9月联合收割机出口情况来看,印度、斯里兰卡等亚洲国家是中国联合收割机的主要出口目的地,这些国家农业发展迅速,对联合收割机的需求呈现出持续增长态势。此外,随着全球农业现代化的持续推进,非洲、南美、中东、北美等地区对联合收割机的需求也在不断增加,这些地区农业从业者对于提升作业效率、降低劳动强度有着迫切渴望,中国联合收割机企业可凭借自身在性价比、适应性等方面的优势,积极开拓这些新兴市场,进一步扩大国际市场份额,提升品牌在国际农业机械领域的影响力。
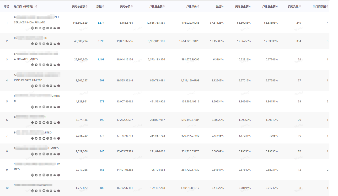
联合收割机企业可重点关注印度、印度尼西亚、哈萨克斯坦、尼日利亚、秘鲁、越南、马来西亚、柬埔寨、马里、加纳、安哥拉、土耳其、尼加拉瓜等市场。以印度市场为例,通过国贸通大数据人工智能DaaS系统,可以非常直观看到近期印度从中国进口联合收割机的贸易交易。

印度联合收割机采购商



精准筛选出高潜力客户,找到其联系方式非常重要!通过国贸通大数据外贸搜功能,可一键挖掘采购商的联系方式,如职位、邮箱、电话、LinkedIn、WhatsApp等。

BTD Whatsapp
国贸通公众号
在线咨询
Skype:GlobalTradeData