固态硬盘(SSD)是数字时代的基础存储核心,覆盖消费电子、数据中心、工业控制、车载等场景。据统计,2025年全球固态硬盘(SSD)市场销售额达到了2395亿元,预计2032年将达到3852.2亿元,年复合增长率(CAGR)为7.1%(2026-2032)。
随着国产存储芯片技术的不断突破,中国SSD产业快速崛起,在全球消费市场中展现出强劲的竞争力。全球数字化与AI算力爆发,让SSD需求持续增长,成为国产科技出海的重要赛道。
2025年中国固态硬盘出口情况
根据海关数据显示,2025年1-12月,中国固态硬盘(HS:84717011,固态硬盘(SSD))出口量为1.58亿台,出口额为121.88亿美元,同比分别增长1874万台(13.45%)和14.03亿美元(13.01%)。

按出口国家和地区统计,2025年1-12月我国固态硬盘最大出口国家和地区为中国香港,出口金额为47.48亿美元,其次是美国和韩国,出口金额分别为21.66亿美元、7.64亿美元。

具体分金额来看,出口额大于5亿美元的市场6个,中国香港、美国、韩国、荷兰、新加坡、中国台湾,占总出口额的79.49%,占绝对主导地位;1亿-5亿美元的市场8个,越南、墨西哥、泰国、马来西亚等,这些市场是中国固态硬盘的出口增长的重要支撑,其中东南亚、北美及欧洲主要经济体表现突出,体现了全球供应链布局与区域消费需求;1000万-1亿美元的市场21个,涵盖阿联酋、匈牙利、巴西、波兰、俄罗斯等,共同构成了出口基本盘的重要组成部分;小于1000万美元的市场超过150个,尽管单个市场出口额微小,但其庞大的数量总和不容忽视,是市场渗透广度与风险分散的体现。
其中,2025年1-12月对越南出口增长218.93%,根据越南海关统计的数据,2025年越南电子产品出口总额达到了1077亿美元,成为第一大出口产业,越南电子产业以组装为主,90% 以上高端零部件依赖进口,SSD作为核心组件,进口量同步暴涨;除此之外,越南本土数字化转型加速、消费电子需求旺盛、数字中心建设提速,内需和产业升级下拉动了对固态硬盘的强劲需求。
具体分国别来看,2025年1-12月,我国固态硬盘共出口189个国家和地区,与2024年同期相比增加4个国家和地区。近六成市场出口额同比正增长,前20大出口市场中,出口额同比增幅20%的市场7个。
从贸易地区分析来看,亚洲是我国固态硬盘的主要出口地,占出口总量的66.85%。在2025年1-12月对出口的六大洲中,出口亚洲81.48亿美元,同比增长28.52%;出口欧洲13.99亿美元,同比增长10.38%;出口非洲3462万美元,同比增长40.35%;出口额下降的洲有:出口北美21.88亿美元,同比下降16.72%;出口拉美3.97亿美元,同比下降20.71%;出口大洋洲2152万美元,同比下降13.93%。

2025年,中国固态硬盘对共建“一带一路”国家和地区出口43.09亿美元,同比增长21.27%。马耳他为年度同比增幅最大国,贸易额较去年同比增长46412.31%;吉布提是年度同比降幅最大国,贸易额较去年下降98.74%。
在共建“一带一路”国家和地区中,中国固态硬盘对东南亚国家联盟(东盟)出口表现尤为突出,出口额达15.26亿美元,同比增长75.28%,占对共建“一带一路”国家和地区出口总额的35.41%。此外,对中亚五国出口额也大幅增长,反映出中国固态硬盘在中亚市场的认可度和竞争力正在快速提升。
从主要出口省市来看,2025年1-12月出口额前五的省市依次为上海、广东、陕西、江苏、湖北,出口额合计占比达到93.81%,紧随其后的重庆、安徽、浙江、四川、河南,出口额分别为2.57亿美元、1.69亿美元、9511万美元、8960万美元、4436万美元。

固态硬盘产业链全球市场分布及特点
产业链情况
上游:核心零部件
固态存储产业链上游主要是存储主控芯片厂商和闪存制造商。
代表企业有:三星、SK 海力士、铠侠、美光、西部数据、长江存储、慧荣、群联、Marvell、三星、联芸等。
中游:模组制造与封测
中游主要是固态存储品牌和模组厂商。
代表企业有:三星、西部数据、金士顿、铠侠、希捷、美光、江波龙、佰维、朗科科技、长电科技、通富微电、华天科技等。
下游:应用市场
下游主要是应用场景,如消费电子、企业级/数据中心、工业/嵌入式等。
全球主要消费市场情况
亚太市场:全球最大且增长最快市场
亚太市场是全球固态硬盘最大市场,且贡献了最大的增长动能,这主要得益于中国政策与数字经济推动,以及,亚太地区在半导体制造和产业链配套方面具有较强的优势,为固态硬盘产业的发展提供了有力支撑。
北美市场:全球高附加值市场
美国在北美市场种占据主导地位,其消费需求主要集中在企业级数据中心、高端消费电子以及工业嵌入式领域。其对对高性能、大容量(8TB以上)企业级SSD需求极高。
欧洲市场:稳定成熟的市场
欧洲市场的需求增长相对平稳,更注重产品的可靠性、数据安全性以及环保性能。在欧洲消费电子与数字化转型推动下,带动了欧洲消费者对高端消费电子产品的偏好,也为高性能SSD在笔记本电脑、游戏设备等领域的应用提供了市场空间。
其他潜力市场:拉美、中东、非洲
随着数字技术在全球范围内的持续渗透和新兴市场经济的不断发展,拉美、中东、非洲等地区正逐渐成为固态硬盘市场的新增长点。拉美地区以消费级中低端为主,中东地区以数据中心+消费双增,非洲地区以入门级消费为主,这些新兴市场虽然在技术成熟度和市场规模上与亚太、北美、欧洲等成熟市场存在一定差距,但凭借其独特的发展机遇和增长潜力,正吸引着全球固态硬盘厂商的关注和布局。
固态硬盘企业市场开发建议
根据2025年1-12月固态硬盘出口数据,韩国、新加坡、越南等亚洲国家是中国固态硬盘的主要出口目的地,这些亚洲国家和地区凭借其在全球电子产业链中的不同定位,共同构成了中国固态硬盘出口的核心市场,也凸显了亚洲在全球固态硬盘贸易中的关键地位。
除此之外,西欧、南欧、中亚也是中国固态硬盘出口的重要目标市场。西欧地区经济发达,消费者对存储产品的品质和性能要求较高、南欧地区近年来数字经济发展势头良好,带动了消费级固态硬盘的需求增长、中亚地区则凭借其地理位置优势,成为连接亚洲与欧洲的重要枢纽。这些区域市场的差异化需求为中国固态硬盘企业提供了多元化的市场拓展空间。
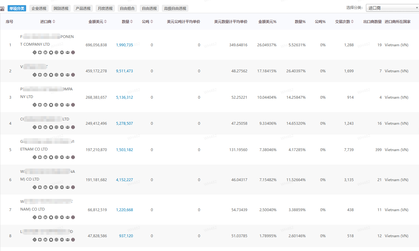
固态硬盘企业可重点关注荷兰、新加坡、越南、马来西亚、英国、阿联酋、意大利、菲律宾、阿根廷、乌兹别克斯坦、南非、沙特阿拉伯、尼日利亚、肯尼亚等市场。以越南市场为例,通过国贸通大数据人工智能DaaS系统,可以非常直观看到近期越南从中国进口固态硬盘的贸易交易。

越南固态硬盘采购商
根据交易频次、交易金额找到潜在采购商,除了可以清晰了解到产品信息、港口信息、量价情况、运输方式,数量、金额、重量等详细信息之外,还通过对该越南采购商的企业资信信息进行深入分析,清晰地判断客户是否可靠,从而确保一切尽在掌控之中。


越南采购商的企业资信信息
并对该企业进行追踪分析,对其贸易趋势、背后供应商、同行、进口商RFM等进行分析,全方位了解客户信息。

精准筛选出高潜力客户,找到其联系方式非常重要!通过国贸通大数据外贸搜功能,可一键挖掘采购商的联系方式,如职位、邮箱、电话、LinkedIn、WhatsApp等。

我国固态硬盘未来出口发展趋势
BTD Whatsapp
国贸通公众号
在线咨询
Skype:GlobalTradeData