随着全球医疗健康的快速发展,中国医疗器械行业在技术创新、产品质量提升以及国际化战略推动下,进出口规模稳步增长,展现出强劲的发展势头。
今年一季度,中国医疗器械行业交出了一份亮眼的国际化成绩单:出口总额达988.75亿元,同比增长8.52%。
在临床应用中,内窥镜扮演着重要的角色。据预测,从2024年到2030年全球内窥镜市场将以8.9%的复合年增长率增长。
2025年1-3月中国内窥镜出口情况
根据海关数据显示,2025年1-3月,中国内窥镜(HS:90189030)出口额约为1.28亿美元,较上年同期增加3646万美元,同比增加39.67%。

按出口国家和地区统计,2025年1-3月我国内窥镜最大出口国家和地区为美国,出口金额为3483万美元,其次是德国和法国,出口金额分别为875万美元、592万美元。

其中,2025年1-3月对法国出口同比增长141.13%,这得益于自2024年5月中国内窥镜企业获得欧盟 CE 认证,为进入法国市场铺平道路;法国政府推动的 “医疗数字化 2025 计划” ,中国企业通过与当地经销商合作,精准对接这一政策需求,使中国内窥镜在法国公立医院、私立诊所等多场景中渗透率快速提升。
除此之外,土耳其、阿联酋、加拿大、奥地利、多米尼加、菲律宾、摩洛哥、乌兹别克斯坦、尼日利亚、塔吉克斯坦增长率同比均超过100%。
从贸易地区分析来看,欧洲、北美、亚洲是我国内窥镜的主要出口地,占出口总量的86.98%。在2025年1-3月对出口的主要地区中均实现增长,出口欧洲4181万美元,同比增长40.15%;出口北美3605万美元,同比增长48.17%;出口亚洲3377万美元,同比增长42.69%;出口拉美1223万美元,同比增长19.92%;出口非洲311万美元,同比增长15.33%;出口大洋洲137万美元,同比增长18.04%。

从主要出口省市来看,2025年1-3月出口额前五的省市依次为广东、上海、浙江、江苏、山东,出口额合计占比达到88.9%,紧随其后的湖南、福建、重庆、北京、四川,出口额分别为363万美元、212万美元、163万美元、159万美元、154万美元。

内窥镜全球市场分布及特点
产业链情况
上游:原材料
内窥镜的上游包含原材料及零部件,原材料涵盖光学部件、传感器与芯片、金属、塑料、零部件等。
代表企业有:奥林巴斯、卡尔蔡司、全视光电、镜海光学、康宁、神州医疗等。
中游:生产制造
中游是内窥镜的整机制造,涉及多学科技术融合与复杂制造工艺,国际上以欧美和日本企业主导,国内企业正快速发展,存在国产替代空间。
代表企业有:奥林巴斯、史赛克、卡尔史托斯、史赛克澳华内镜、开立医疗、迈瑞医疗、新光维等。
下游:应用与增值服务
内窥镜的下游主要是医疗机构、经销商和患者,医疗机构采购决策受多因素影响,经销商影响产品推广,患者需求决定市场潜力。
全球主要消费市场情况
北美市场:主导地位稳固
占据全球约40%份额,其中,美国是核心市场,人均医疗支出全球最高,推动高端医疗采购,但监管严格。
欧洲市场:市场规模增长稳健
欧盟五国占全球份额19.3%,其中德国为欧洲最大市场。但欧盟法规严苛,MDR 法规要求设备全生命周期追溯,认证门槛提高。
亚太市场:全球增速第一
亚太地区被普遍认为是全球内窥镜市场增长最快的区域,这一增长主要得益于该地区庞大的人口基数、日益增长的经济实力、不断提高的医疗保健意识、政府对医疗保健投入的增加以及中产阶级的崛起。
新兴市场:差异化需求突出
中东、非洲、拉美市场需求潜力逐渐释放,快速扩张,但差异化需求突出。
内窥镜企业市场开发建议
根据2025年第一季度内窥镜出口情况来看,美国、欧盟是中国内窥镜的主要出口目的地,随着成本优势和产品质量的不断提升,中东、非洲、南美洲对中国内窥镜的的认可度不断提升,中国企业有望进一步扩大在这些地区的市场份额。
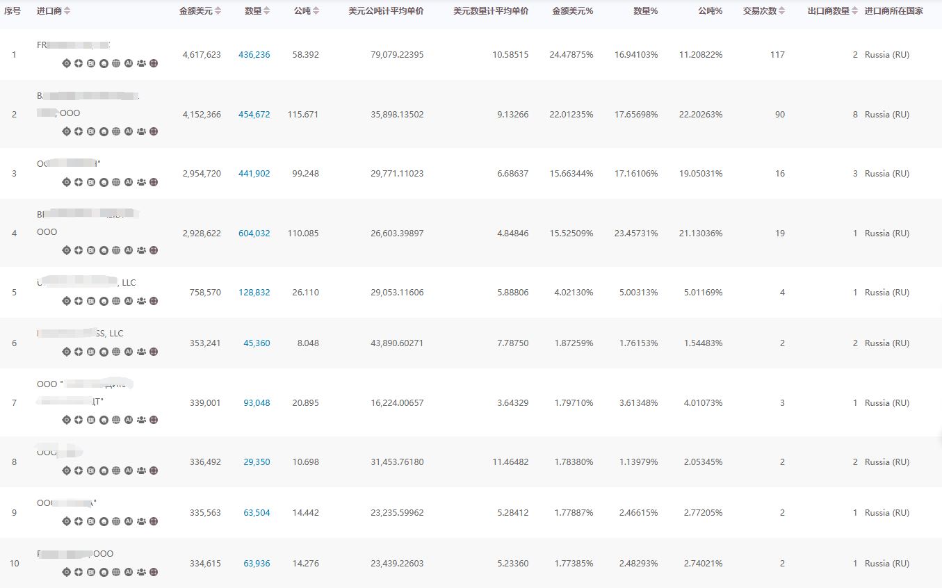
内窥镜企业可重点关注俄罗斯、波兰、印度、沙特阿拉伯、土耳其、阿联酋、多米尼加、菲律宾等市场。以俄罗斯市场为例,通过国贸通大数据人工智能DaaS系统,可以非常直观看到近期俄罗斯从中国进口内窥镜的贸易交易。

根据交易频次、交易金额找到潜在采购商,对该采购商的详细信息,如产品信息、港口信息、量价情况、运输方式,数量、金额、重量等,直接分析其采购习惯。

并对该企业进行追踪分析,对其贸易趋势、背后供应商、同行、进口商RFM等进行分析,全方位了解客户信息。


精准筛选出高潜力客户,找到其联系方式非常重要!通过国贸通大数据外贸搜功能,可一键挖掘采购商的联系方式,如职位、邮箱、电话、LinkedIn、WhatsApp等。

BTD Whatsapp
国贸通公众号
在线咨询
Skype:GlobalTradeData