作为工程圈的“扛把子”,履带式起重机既能在高层建筑施工中吊起数十吨钢构件的精准对位,也能在架跨海大桥时,托着百米箱梁稳稳落架,更能够在抢险救灾时,为清理坍塌重型构件提供紧急支援,是工程现场当之无愧的“硬核担当”。
据预测,2024 至 2029 年全球起重机械市场(含全品类)CAGR 可达 6.26%,市场规模将从 426.4 亿美元增长至 577.6 亿美元。
根据海关数据显示,2025年1-6月,中国履带式起重机(HS:84264910)出口额约为5.06亿美元,较上年同期增加4478万美元,同比增加9.71%。

从出口平均价格来看,2025年1-6月中国履带式起重机出口平均价格为231079 USD/台,同比增长274.96%。
2025年上半年中国履带式起重机出口平均价格大幅增长,主要原因有国内履带式起重机产品结构迭代,从量变到质变的结构式跨越,大吨位起重机出口占比大幅度跃升,推高了均价;中国履带式起重机技术溢价释放,向智能化与绿色转型,技术升级带来的附加值提升是其出口单价飙升的核心驱动力;在政策驱动下,中国起重机企业实现技术上突破,在成本优化的同时掌握了更多定价主动权,同时如RCEP框架下,中国对东盟履带式起重机关税从8%降至5%,多重因素下,使得中国履带式起重机出口单价暴涨。
按出口国家和地区统计,2025年1-6月我国履带式起重机最大出口国家和地区为印度,出口金额为9931万美元,其次是沙特阿拉伯和阿联酋,出口金额分别为5150万美元、4711万美元。

2025年1-6月对阿曼出口同比增长2625.24%,这其中原因有,阿曼正以2040 愿景为纲领,加速从单一石油经济向多元化转型,清洁能源与高端制造成为核心驱动力;阿曼基建升级,为中国履带式起重机企业通过技术迭代、智能与绿色技术溢价、本地化生产网络布局为出口打开新通道;同时,在RCEP框架下,中国设备企业把握政策窗口期与供应链优势,形成独特竞争力,重塑了中东工程机械市场格局。
具体分国别来看,2025年1-6月,我国履带式起重机共出口112个国家和地区,与2024年同期相比增加25个国家和地区。近七成市场出口额同比正增长,前20大出口市场中,出口额同比增幅50%以上的市场10个,出口额同比增幅100%以上的市场6个。
从贸易地区分析来看,亚洲是我国履带式起重机的主要出口地,占出口总量的74.81%。在2025年1-6月对出口的主要地区中,出口亚洲3.79亿美元,同比增长8.27%;出口欧洲4934万美元,同比增长75.45%;出口非洲4929万美元,同比增长0.28%;出口北美396万美元,同比增长749.79%;出口额下降的洲有:出口大洋洲1648万美元,同比减少7.37%;出口拉美839万美元,同比减少47.76%。

从主要出口省市来看,2025年1-6月出口额前五的省市依次为浙江、江苏、湖南、北京、山东,出口额合计占比达到86.66%,紧随其后的上海、广东、四川、河北、新疆,出口额分别为1270万美元、889万美元、870万美元、583万美元、583万美元。

产业链情况
上游:原材料
履带起重机产业链上游主要为生产所需的原材料和核心零部件,其中,原材料包括钢材、铝合金、非金属材料等;核心零部件包括液压元件、发动机、电气控制系统等,原材料和核心零部件的质量和性能直接影响到履带起重机的整体性能和可靠性。
代表企业有:宝钢、中国铝业、蒂森克虏伯、肯联铝业、恒立液压、博世力士乐、潍柴动力、康明斯、西门子等。
中游:整机研发与制造
产业链中游为履带起重机的生产制造。
代表企业有:徐工机械、三一重工、中联重科、抚挖重工、利勃海尔、马尼托瓦克、特雷克斯、神钢建机等。
下游:应用领域
下游为履带起重机的应用领域,包括房地产、电力、轨道交通、桥梁、船舶、石化等行业。
全球主要消费市场情况
亚洲市场:全球最重要且活跃市场之一
中国是全球最大市场,内销增长强劲;东南亚由于基建扩张,对中小型机械需求旺盛,市场增长潜力大。
北美市场:成熟市场需求稳定
2024年北美履带式起重机市场规模约占全球 25%,年增长率5%,以美国和加拿大为核心市场,其对对产品的智能化、精准化和环保标准要求高。
欧洲市场:发达市场标准严格
2024年履带式起重机欧洲市场约占全球份额的20%,德国、法国为主要消费市场。作为高端市场,欧洲市场以智能化与绿色化引领趋势。
中东市场:超级工程催生高端需求
沙特、阿联酋为中东核心市场,在基建需求爆发和能源转型需求下,近年来中国品牌在中东市场快速渗透。
新兴市场:潜力待释放
非洲、拉美等新兴市场,需求也不断释放,其中,能源转型(如风电安装)和矿业开采是主要驱动力。
根据2025年上半年履带式起重机出口情况来看,包括印度、沙特阿拉伯、阿联酋、新加坡等亚洲、中东国家是中国履带式起重机的主要出口目的地。2025年上半年中东、中东欧、西欧等市场需求持续扩大,未来增长潜力不容忽视。
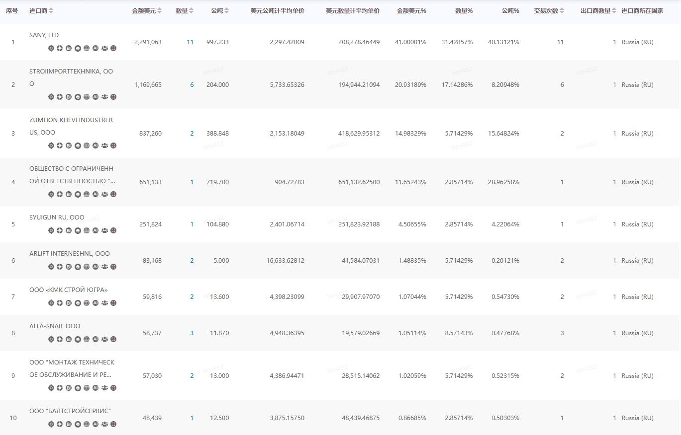
履带式起重机企业可重点关注阿联酋、俄罗斯、阿曼、摩洛哥、菲律宾、荷兰、几内亚、尼日利亚、乌兹别克斯坦、塞尔维亚、以色列等市场。以俄罗斯为例,通过国贸通大数据人工智能DaaS系统,可以非常直观看到近期俄罗斯从中国进口履带式起重机的情况。

俄罗斯履带式起重机采购商
根据交易频次、交易金额找到潜在采购商,对该采购商的详细信息,如产品信息、港口信息、量价情况、运输方式,数量、金额、重量等,直接分析其采购习惯。


俄罗斯采购商信息
并对该企业进行追踪分析,对其贸易趋势、背后供应商、同行、进口商RFM等进行分析,全方位了解客户信息。

精准筛选出高潜力客户,找到其联系方式非常重要!通过国贸通大数据外贸搜功能,可一键挖掘采购商的联系方式,如职位、邮箱、电话、LinkedIn、WhatsApp等。
BTD Whatsapp
国贸通公众号
在线咨询
Skype:GlobalTradeData