据相关数据分析,2023 年俄罗斯同亚洲国家贸易额约 4580 亿欧元,同比增长 13.5%,其中出口 2840 亿欧元,增长 5.6%,进口 1740 亿欧元,增长 29.2%。而同期俄罗斯对欧洲出口额为 788 亿欧元,同比大幅下降 68%。这清晰地表明俄罗斯对外贸易重心正加速由欧洲转向亚洲。
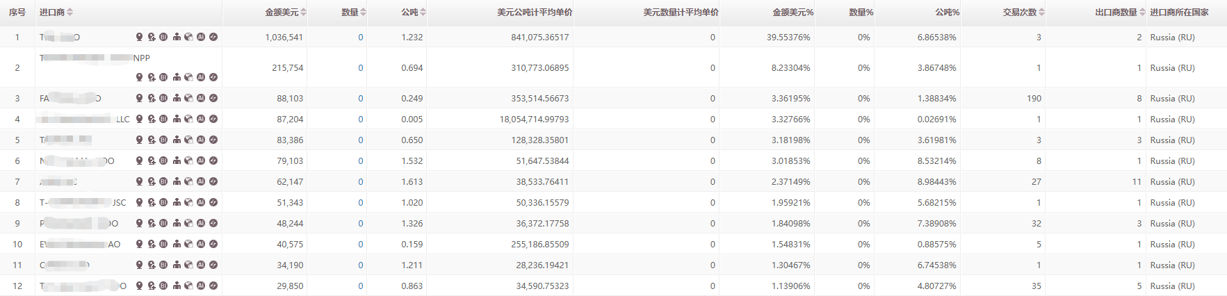
1、以2023年3月份为例

2、统计一整个月有关海关编码:902910 相关产品的进出口数据总计

3、通过自带的图表生成数据统计分析


4、详情交易情况一览

2023 年俄中贸易额再创新高,达到约 2401 亿美元。俄罗斯自中国的进口增长强劲,全年进口额增长 46.9%,达到 1109.7 亿美元;出口增长则较为温和,增幅为 12.7%,出口额为 1291.4 亿美元。在中国对俄出口的商品中,各种型号的汽车和汽车零部件占据前列。
2023 年前 7 个月俄罗斯对亚洲货物贸易量达 4.2 亿吨,较上年同期增长 45%,在俄对外贸易总量中占比 76%,总价值 2750 亿美元,同比增长 22%,在俄对外贸易总额中占比 68%。
俄联邦海关总署数据显示,2023 年远东联邦管区经济实体与亚太地区国家之间的贸易额增长了 10% 以上,达到 470 亿美元。2023 年远东地区海关进出口总量增长 11%,达到 2.11 亿吨。
国贸通作为专业的外贸数据服务平台,拥有海量且精准的俄罗斯贸易数据资源,涵盖俄罗斯与全球 230 多个国家和地区的贸易往来信息。通过国贸通的大数据分析系统,企业可以深入洞察俄罗斯市场需求的动态变化,精准定位俄罗斯的优质采购商和供应商,还能对俄罗斯不同地区的贸易特点进行细致剖析

为企业制定对俄贸易策略提供有力的数据支持,助力企业在与俄罗斯的贸易合作中抢占先机,实现业务的快速增长。无论是想拓展俄罗斯市场的出口企业,还是寻找优质俄罗斯产品的进口商,国贸通都能为您提供全面、准确、及时的数据服务,成为您在对俄贸易中的得力助手。
BTD Whatsapp
国贸通公众号
在线咨询
Skype:GlobalTradeData